“ 山东牙得安医疗器械有限公司(天桥牙得安口腔诊所)多项目不符合规定,被济南市天桥区卫生健康局一天连下三张罚单。据悉,4月11日,山东牙 ”
山东牙得安医疗器械有限公司(天桥牙得安口腔诊所)多项目不符合规定,被济南市天桥区卫生健康局一天连下三张罚单。

据悉,4月11日,山东牙得安医疗器械有限公司(天桥牙得安口腔诊所)未按规定对放射诊疗工作人员进行个人剂量监测、健康检查、建立个人剂量和健康档案,根据《放射诊疗管理规定》第四十一条第(四)项,被济南市天桥区卫生健康局予以警告,罚款7000元处罚。


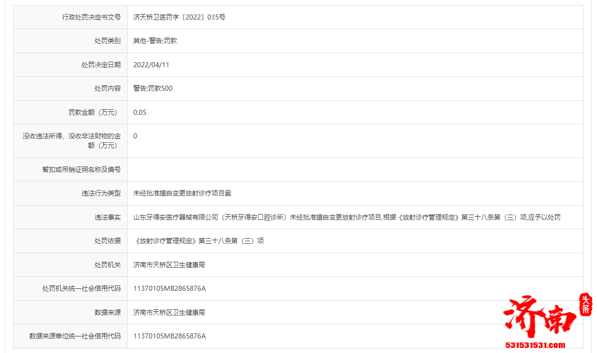
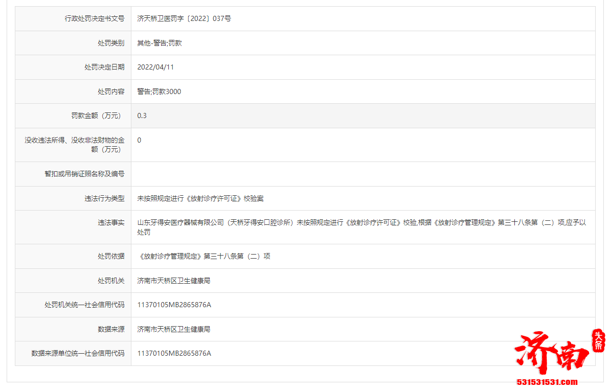
同日,山东牙得安医疗器械有限公司(天桥牙得安口腔诊所)又因未经批准擅自变更放射诊疗项目、未按照规定进行《放射诊疗许可证》校验案,根据《放射诊疗管理规定》第三十八条第(三)项、《放射诊疗管理规定》第三十八条第(二)项,被济南市天桥区卫生健康局予以警告,分别罚款500元、3000元。
Tigs: 南天桥牙得安口腔诊所 / 济南口腔